Harley Davidson Right Transmission Pillow Block Bearing OEM 9114
Harley Davidson Right Transmission Pillow Block Bearing OEM 9114
Regular price
$11.99 USD
Regular price
Sale price
$11.99 USD
Unit price
per
Shipping calculated at checkout.
Couldn't load pickup availability
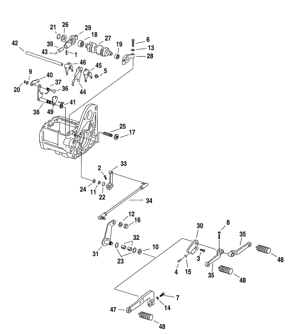
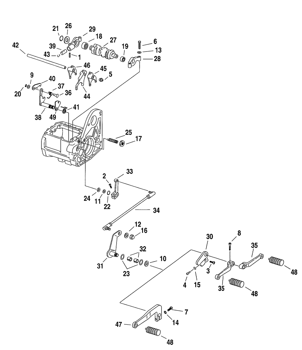
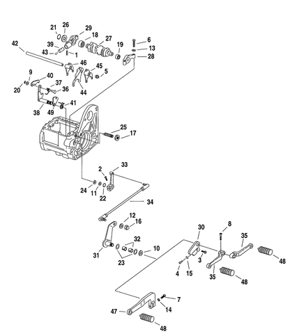
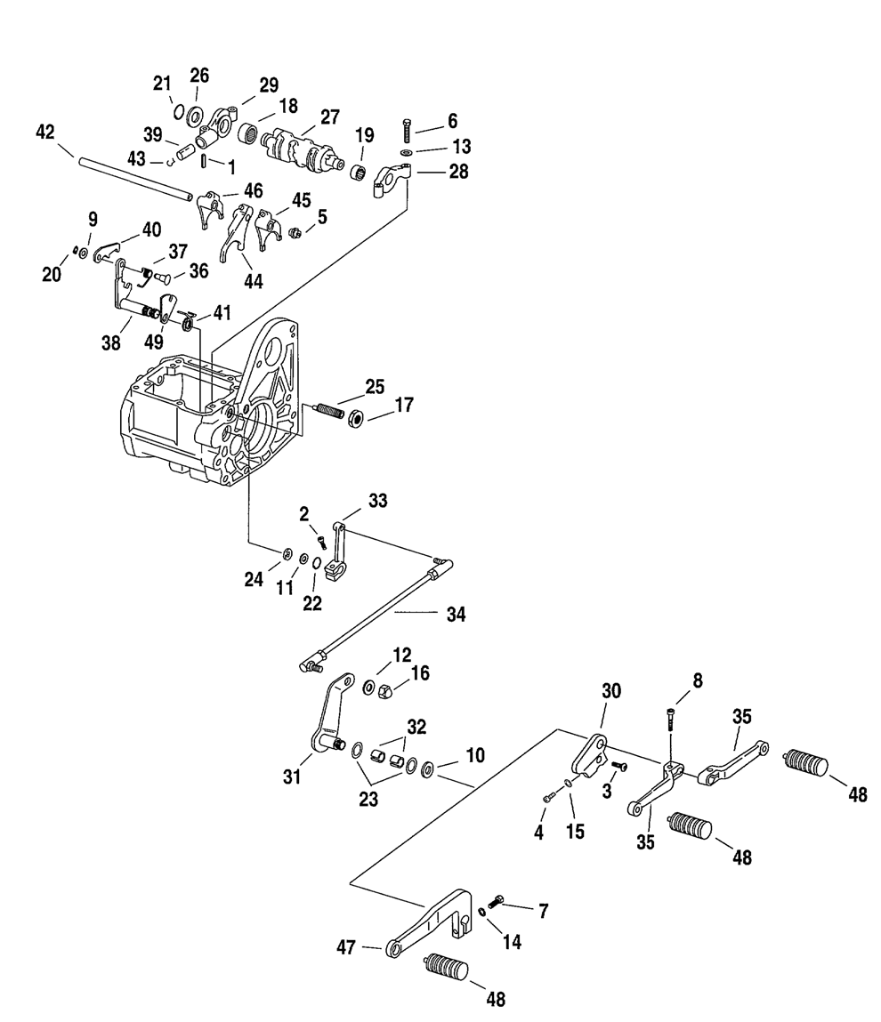
Harley Davidson Right Transmission Pillow Block Bearing. This Replaces OEM 9114. it is number 18 in parts diagram
1 in stock
